РУБРИКИ

Курсовая: Применяемые Финансовые Информационные Системы (ФИС)

   РЕКЛАМА

Главная

Логика

Логистика

Маркетинг

Масс-медиа и реклама

Математика

Медицина

Международное публичное право

Международное частное право

Международные отношения

История

Искусство

Биология

Медицина

Педагогика

Психология

Авиация и космонавтика

Административное право

Арбитражный процесс

Архитектура

Экологическое право

Экология

Экономика

Экономико-мат. моделирование

Экономическая география

Экономическая теория

Эргономика

Этика

Языковедение

ПОДПИСАТЬСЯ

Рассылка E-mail

ПОИСК

Курсовая: Применяемые Финансовые Информационные Системы (ФИС)

Таблица 3.

Сводная оборотная ведомость за____19__г.

Счет (субсчет)Начальное сальдоОборотыКонечное сальдо
ДебетКредитДебетКредитДебетКредит
Итог
Свернуто

х

ц

5 .

1 О.

с х

Е

§ &

S

х

1

Св ^-

U

^

S 3

^

s s

Ш

1

ев

и

и

i

S о

ВС

& s.

с

(4 ^ О

S

t-(

1

et

U1

^

u

A.

Сводная оборотная ведомость по субсчетам аналогична Сводной оборотной

ведомости по счетам. Отличие заключается в том, что для счетов, имеющих

субсчета, сначала формируется Сводная ведомость по счету в разрезе субсчетов

с указанием сальдо и развернутых оборо­тов по каждому субсчету, а затем

формируется Сводная оборотная ве­домость по выбранному субсчету с указанием

списка хозяйственных операций.

Главная книга аналогична оборотной ведомости по счету, однако в от­личие от

нее содержит обороты по счету, свернутые по корреспондирую­щим счетам.

Главная книга бухгалтерского учета содержит по каждому корреспондирующему

счету:

• начальное сальдо (дебет, кредит);

• конечное сальдо (дебет, кредит);

• развернутые обороты за выбранный период в корреспонденции с другими счетами

(дебет, кредит).

Баланс предприятия можно сформировать по любой сводной оборот­ной ведомости.

Сводная валютная ведомость - сводная оборотная ведо­мость по всем валютным

счетам — формируется только для одной выбран­ной валюты.

Приведенная валютная ведомость - сводная оборотная ведомость, при­веденная к

одной выбранной валюте.

Кассовая книга формируется из файла GUHO. Она составляется каж­дый день в

виде установленной для кассовой книги формы.

Главное меню программного комплекса по автоматизации бухгалтер­ского учета на

малых и средних предприятиях состоит их пяти основных функций:

• Учетные журналы;

• Справочники;

• Ведомости;

• Настройка;

• Сервис.

Дерево диалога данного комплекса представлено на рис. 5.

Функция Учетные журналы включает следующие режимы:

• Хозяйственные операции;

• Материалы;

• МБП;

• Товары;

Основные средства . Регистрация ПП;

• Регистрация ПТП;

• Регистрация РКО;

• Регистрация ПКО;

• Регистрация счетов;

• Регистрация накладных;

Курсовая: Применяемые Финансовые Информационные Системы (ФИС)

Рис.19. Дерево диалога программного комплекса автоматизации бухгалтерского

учета на малых и средних предприятиях.

В режимах Хозяйственные операции, Материалы, МБП, Товары, Ос­новные средства

из первичных документов заполняются Журнал первич­ных документов, учетные

журналы ТМЦ и Журнал хозяйственных опера­ций.

Сначала оформляется первичный документ в Журнале первичных до­кументов, а

затем оформляются либо проводки в Журнале хозяйственных операций, либо записи

движения ТМЦ в учетных журналах ТМЦ.

В режимах Регистрация ПП, Регистрация ПТП, Регистрация РКО, Ре­гистрация ПКО,

Регистрация счетов. Регистрация накладных выполняет­ся заполнение журналов

регистрации соответствующих первичных доку­ментов. В этих режимах можно

просмотреть любой журнал, а также доку­менты, по которым не было проводок в

Журнал хозяйственных операций. По желанию можно распечатать любой первичный

документ на принтере. Кроме того, в режиме Регистрация счетов можно

проконтролировать сче­та на оплату.

Функция Справочники включает следующие режимы:

• Предприятия;

• Услуги по счету;

• Наименование документа;

• Товарно-материальные ценности;

• Единицы измерения;

• Операции движения;

• План счетов;

• Бухгалтерские проводки:

• Группы проводок;

• Налоги;

Коды аналитического учета;

• Объекты предприятия;

• Подразделения;

• Курс валюты,

Данная функция позволяет заполнить любые справочники, задейство­ванные в

программе, и тем самым настроить программный комплекс на ведение

бухгалтерского учета на конкретном предприятии. Каждый режим . соответствует

отдельному справочнику. Справочники можно заполнять, просматривать и выводить

на печать.

Функция Ведомости позволяет формировать различные ведомости и отчеты. Она

содержит следующие режимы:

• Главная книга;

• Сводная оборотная;

• Сводная по счетам;

• Сводная валютная;

• Приведенная валютная;

• Кассовая книга;

• Ведомость-диаграмма;

• Аналитическая.

Для формирования любой ведомости или отчета 'следует выбрать со­ответствующий

режим и указать период, за который необходимо сформи­ровать отчетный

документ.

Функция Настройка предназначена для индивидуальной настройки программного

комплекса на учетную политику конкретного предприятия. Функция включает

режимы:

• Выбор работы (тип предприятия, обучающий режим);

• Звуковые сигналы (настройка звуковых сигналов или речевых сооб­щений во

время работы программы);

• Принтер, формат листа (настройка на определенный тип принтера и установка

параметров печати);

• Дата и время (настройка внутренних часов и календаря компьютера);

• Рабочий период (установка отчетного периода, за который формиру­ются

ведомости);

• Проверки (настройка различных проверок при работе программы, контроль

наличия вводимых данных в справочнике, антивирусная про­верка и др.);

• Подтверждение (установка запросов для подтверждения, например, при удалении

записи, группы записей, последней записи и др.);

• Время сохранения экрана (установка времени, через которое гаснет экран);

• Порт модема (установка номера порта с модемом для автодозвона из

справочников предприятия);

• Прочие установки (установка формата чисел при печати платежных документов;

кодирование данных при окончании работы с программой;

запрос периода при формировании ведомостей и др.).

Функция Сервис служит для облегчения работы пользователя с про­граммным

комплексом и включает основные режимы:

• Общая информация (позволяет получить информацию о типе пред­приятия, с

которым работает пользователь, о свободном месте на диске и в оперативной

памяти, о рабочем периоде и др.);

• Помощь (позволяет пользователю получить конкретную справку по возникшей в

процессе работы проблеме);

• Визитная карточка изготовителя (дает информацию о фирме-изгото­вителе:

название, адрес, телефон, номер версии программы);

• Восстановление базы (служит для восстановления архива с дискеты на жесткий

диск ЭВМ);

• Проверка баз (позволяет проверить корректность файлов на жестком диске);

• Формирование первичных документов (формирует Журнал первич­ных документов

на основании учетных журналов ТМЦ);

• Закрытие учетного периода (позволяет автоматически рассчитывать остатки по

счетам при переходе на следующий отчетный период);

• Отмена закрытия периода (отменяет ранее выполненную операцию по закрытию

отчетного периода);

• Просмотр файла (обеспечивает возможность просмотра любого тек­стового файла);

• Калькулятор (позволяет вызвать встроенный калькулятор для вы­полнения

вычислений);

• Изменение реквизита (дает возможность пользователю изменить или задать

новые банковские реквизиты предприятия и пароль);

• Сохранение базы (позволяет сохранить данные учетных журналов на архивной

дискете);

• Выход (обеспечивает завершение работы с программой).

При создании БУИС на небольших предприятиях основное внимание уделяется

финансовому учету. Главным учетным ре­гистрам подобных БУИС является Журнал

хозяйственных опе­раций. Настройка системы ведения бухгалтерского учета

кон­кретного предприятия осуществляется через функцию Спра­вочники.

Банковские информационные системы (БИС).

Интегрированная БИС представляет собой единый программно-тех­нологический

комплекс, являющийся средством ускорения освоения, воз­вратности и

сбалансированности ресурсов, контролируемых по заданным условиям

финансирования и кредитования. Интегрированная БИС охва­тывает совокупность

банковских задач не фрагментарно, а комплексно, от­ражая всю сложность их

взаимосвязей. Это не совокупность разрозненных хорошо автоматизированных

задач, а такой комплекс программ, которому присущи свойства сложной системы:

сложность иерархической структуры; эмерджентность; множественность

функциональных целей; динамичность в работе при обеспечении управления

процессами, носящими стохастиче­ский (вероятностный) характер;

многофункциональность. Поэтому при разработке интегрированных БИС требуется

проанализировать большое количество влияющих на их структуру и содержание

факторов: общие ха­рактеристики банка, ближние и дальние цели и

стратегические направле­ния его развития; особенности сложившейся структуры

управления; общие принципы построения банковской технологии; ожидаемая

архитектура системы и состав функций, подлежащих автоматизации; объем входной

и выходной информации, количество входных документов; требования к

ин­формационной безопасности. На основе такого анализа и вырабатываются далее

основополагающие принципы будущей системы.

Проектирование функциональной части ЭИС связано с решением стра­тегического

вопроса о выборе критерия выделения ее подсистем - одной из проблем, которая

существовала на протяжении всей истории автомати­зации организационно-

экономических объектов и осталась актуальной в настоящее время. Изучение

структуры и функций любой системы осно­вывается на ее анализе и дальнейшем

синтезе. И если цель анализа -изучение закономерностей функционирования

системы при существую­щей структуре, то задача синтеза - проектирование и

подбор такой струк­туры, которая реализовывала бы заданные ей функции.

Из теории сложных систем известно, что всякую сложную систему можно разложить

на некоторые подсистемы с различной глубиной дета­лизации.

Традиционно под функциональной подсистемой понимается неко­торая часть общей

системы управления, выделенная в соответствии с общ­ностью функциональных

признаков управления.

Поскольку задачи управления, решаемые в банке, многоаспектные, при

проектировании возникает проблема классификации признаков де­композиции БИС.

В качестве таких признаков можно выделить: функ­ции, период и объект

управления и др.

Функции управления из-за универсальности своего состава - один из наиболее

распространенных признаков декомпозиции управленческих систем. Система

управления банком, выполняя в целом функции, типич­ные для любых

управленческих систем ( планирование, учет и контроль, анализ и

регулирование), обладает особенностями их распределения меж­ду элементами

управленческой структуры. Эти функции неразрывно свя­заны между собой и

всегда носят целевой характер.

Учет и контроль в банке представлены операционным и бухгалтерским учетом,

которые тесно связаны между собой, поскольку аналитический уровень отражен в

банковском учете лицевыми счетами, а каждый лицевой счет находится под

определенным балансовым. В связи с тем, что каждый рабочий день заканчивается

формированием ба­ланса, проводки, изменяющие состояние лицевых счетов,

немедленно отражаются на синтетических счетах и и балансе. Статистический

учет позволяет собрать сведения об изменении отдельных показателей за

длительный период.

Анализ представляет собой функцию управления, которая позволя­ет распознать

сложившуюся экономическую ситуацию как внутри, так и вне банка. В крупных

банках существуют два независимых отдела, один из которых обеспечивает анализ

внутреннего состояния банка, а другой анализирует внешнюю среду.

Планирование, основываясь на данных анализа, подготавливает возможные решения

для выхода из сложившейся ситуации и достижения поставленных целей. При этом

планирование внешних взаимодейст­вий и планирование внутреннего состояния

банка взаимосвязаны, хотя структурно они разделены и реализуются частично в

процессе марке­тинга (департамент маркетинга и развития банка), частично в

отделе пла­нирования (департамент экономического управления).

В реальных условиях разработки интегрированных БИС в качестве основного

признака функция управления самостоятельно не использует­ся, а лишь дополняет

другие. Более распространенным признаком деком­позиции в практике является

объект управления.

Подготовленные на этапе планирования решения реализуются в рамках функции

регулирования.

В зависимости от уровня цели можно говорить о горизонтах управле­ния.

Существуют понятия стратегических и тактических целей. Оба эти понятия в

известной мере условны, поскольку тактические цели, напри­мер, правления

банка могут являться стратегическими для другого уров­ня управления, например

кредитного отдела. Но тем не менее для банков­ской сферы можно разделить

цели, а следовательно, и фазы управления по длительности периода управления

на оперативные (один рабочий день), текущие (для Украины - месяц, квартал) и

перспективные (для Украины - год). Таким образом, можно говорить об

оперативном, текущем и статистическом учете, планировании и анализе. Однако

следует отметить, что анализ не существует сам по себе и служит

подготовительной фазой для планирования и информационно базируется на учетных

данных, от­ражающих фактическое состояние системы.

Объектам управления в банке может служить как деятельность под­разделения или

одного сотрудника, так и отдельная банковская операция, состоящая из ряда

технологических этапов.

Структура системы управления банком может быть организована разными

способами, что зависит в значительной мере от размеров банка, числа видов

оказываемых услуг, количества клиентов и операций, выпол­няемых банком.

Наиболее простая структура управления линейная, когда правлению банка

непосредственно подчинены отделы. Это дает возможность обес­печить

эффективное прямое управление банком и очевидную, ясную и обозримую

структуру. При этом основная управленческая нагрузка пред­полагает разделение

функций управления между правлением и руково­дителями подразделений.

Более сложной является штабная организация, при которой правле­нию подчинены

департаменты, объединяющие отделы по принципу од­нотипности выполняемых

управленческих функций. Например, департа­мент маркетинга, департамент

валютных операций и др. Разделение управ­ленческих функций между штабами

происходит на верхнем уровне. При такой организации появляется возможность, с

одной стороны, распреде­лить управленческие проблемы между большим числом

специалистов, с другой стороны, углубить специализацию сотрудников и , таким

образом, повысить качество управления.

Еще более сложной является линейно-штабная управленческая струк­тура, при

которой отделы, обеспечивающие выполнение депозитных, кредитных,

инвестиционных и других операций, подчинены управлени­ям промежуточного

уровня, обслуживающим различные группы юриди­ческих и физических лиц, которые

сами могут устанавливать свои локаль­ные цели, подчиненные, однако,

глобальным управленческим целям бан­ка. К последним могут относиться:.

получение максимального дохода при допустимом риске, повышение собственной

ликвидности и др. В то же время при такой структуре могут сохраняться

элементы управления, вы­деленные по принципу однотипности выполняемых

управленческих функ­ций. Такая система организации усложняет и удорожает

управление, но повышает уровень его качества.

В Украине разнообразие управленческих структур в различных ком­мерческих

банках обусловлено прежде всего продолжающимся их раз­витием и становлением.

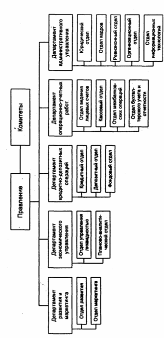
Примером структуры управления КБ может служить структура, представленная на

рис. 5.1.

Правление КБ является высшим органом банка, который осуществля­ет

стратегическое управление: определяет траекторные цели и политику банка на

основе данных экономического анализа и данных бухгалтерской отчетности;

доводит их до департаментов для дальнейшей детализации и исполнения

соответствующим отделам; осуществляет общий контроль проводимой банком

политики, пересматривает ее при изменении эко­номической ситуации, а также

контролирует состояние банковского портфеля. Правление создает комитеты,

которые обеспечивают поддерж­ку стратегического руководства банком,

координируют работу различ­ных отделов системы управления. В зависимости от

величины банка и его потребностей в Украине, как правило, создаются комитеты,

воз­главляемые членами правления: кредитный, ревизионный, исполнитель­ный,

доверительных операций и др.

Кредитный комитет дает заключения по всем случаям кредитования или превышения

установленных лимитов, а также по их определению. Он вырабатывает

рекомендации по величине ссудных процентных ставок и структуре кредитов по

срокам и видам.

Ревизионный комитет обеспечивает регулярные внутренние аудитор­ские проверки

либо своими силами; либо с привлечением внешних аудиторов.

Исполнительный комитет обеспечивает проведение экономического анализа

(выполнение целей банка, прибыльности, ликвидности и др.), оценку

деятельности банка, в процессе которой анализируются основ­ные экономические

показатели и отслеживается выполнение траекторных целей.

В банках с большим числом доверительных операций может созда­ваться комитет

доверительных операций.

Департамент развития и маркетинга банка, как правило, включает два отдела.

Отдел развития обеспечивает анализ внешней ситуации и, согласовав его с

оценкой внутренней ситуации в банке, подготавливает возможные направления

политики банка и продвижения его услуг на рынок. Эти ре­шения должны

согласовываться с генеральными целями, утвержденными правлением банка.

Отдел маркетинга осуществляет оценку конъюнктуры рынка банков­ских услуг,

анализирует соответствие номенклатуры, качества и цены соб­ственных услуг

уровню рынка, продвигает свои услуги на рынок, выра­батывая для этого

рекламную политику. Этот отдел обеспечивает связь с клиентурой и с

общественностью. В развитом обществе существен­ным является не только объем и

качество оказываемых услуг, но и соот­ветствие принятым нормам (поддержка

науки, искусства, внимание к окружающей среде). Отдел, с одной стороны,

информирует руководство банка обо всех важных событиях вне банка, с другой

стороны, объясняет общественности цели банка, его стратегию.

Департамент экономического управления обеспечивает тактическое управление и

включает планово-аналитический отдел и отдел управления ликвидностью.

Тактический уровень управления необходим для детали­зации стратегических

целей до уровня мероприятий и отслеживания их в дальнейшем как целей, носящих

траекторный характер.

Курсовая: Применяемые Финансовые Информационные Системы (ФИС)

Рис. 6 Организационная структура коммерческого банка.

Отдел управления ликвидностью осуществляет расчет показателей ликвидности

банка, их факторный анализ и ежедневный контроль.

Планово-аналитический отдел, изучая внутренние банковские показа­тели,

устанавливает планы сбыта (например, число открываемых новых счетов),

финансовый план, планирует внутренние мероприятия. Отдел рассчитывает

ожидаемую сумму пассивов и решает задачу их эффектив­ного размещения.

Проводятся анализ структуры активов и пассивов бан­ка по группам и оценка

эффективности соотношения между ними. При этом должно соблюдаться «золотое

правило»: длинные кредиты должны покрываться длинными депозитами и т.д.

Департамент кредитив - депозитных операций включает кредитный, депозитный и

фондовый отделы.

Кредитный и фондовый отделы дополняют друг друга, не только вы­полняя

принятую стратегию банка в кредитной и инвестиционной поли­тике, но и

оперативно реагируя на требования, выдвигаемые сложившей­ся экономической

ситуацией на рынке капитала. Например, в период эко­номического роста объем

ссуд увеличивается, а портфель ценных бумаг сокращается; в периоды низкого

спроса на ссуды картина меняется.

Функции кредитного и депозитного отделов, несмотря на принципи­ально разное

содержание их операций, по форме очень близки. Сход­ство функций выражается в

необходимости выполнения весьма трудо­емких работ по проверке и соблюдению

целого ряда формально-правовых принципов кредитования, которые должны

соблюдаться как креди­торами, так и заемщиками. Отличие обусловливается тем,

кто является ссудозаемщиком, а кто кредитором, - банк или клиент. В любом

случае, как и при выполнении большинства услуг банка, взаимоотноше­ния

клиента и банка регулируются договором, который они заключают. Проверка

кредитоспособности является предпосылкой для всех других действий банка по

отношению к ссудозаемщику, т.е. осуществляются ана­лиз возможности

обеспечения выплаты кредита и своевременность взно­сов, процентов и других

платежей физическим и юридическим лицом. Эта проверка требует анализа баланса

заемщика, ликвидности залога, ежегодного финансового отчета и ряда других

регистров, содержащих показатели работы предприятия.

Департамент операционно-учетных работ (ОУР) реализует весь комплекс задач по

открытию и закрытию лицевых счетов, выполнению кассовых операций, ведению

лицевых счетов, выполнению расчетов по поручению каждого клиента, ведению

межбанковских операций, ведению бухгалтерского учета на синтетическом уровне

и составлению отчетно­сти, которая используется как самим банком (ревизия и

контроллинг), так и учреждениями внешней среды (вышестоящие, налоговые и

другие орга­ны). Этот департамент выполняет следующие функции:

• расчет и распределение доходов и налогов между бюджетами;

• учет расчетно-платежных документов до наступления срока плате­жа и не

оплаченных в срок;

• обеспечение правильных и своевременных расчетов между кли­ентами;

• начисление и списание процентов по текущим и расчетным сче­там;

• учет ценностей и документов на внебалансовых счетах;

• учет срочных обязательств по ссудам;

• депонирование средств для выдачи чековых книжек, аккредитивов и акцептов

платежных поручений;

• организация и контроль операций межфилиального оборота; .

• составление баланса.

реализация этих функций поддерживается работой соответствующих отделов.

Операционный и бухгалтерский учет в банке взаимосвязаны гораздо более тесно,

чем на промышленном предприятии, что обусловлено еже­дневным составлением

баланса и необходимостью поддержания в акту­альном состоянии всех

аналитических (лицевых) счетов. Назначение комплекса учетно-операционных

работ:

• формирование полной информации о финансовом состоянии кли­ентов в реальном

масштабе времени;

• ведение аналитического и синтетического учета по всем банковским операциям.

Департамент административного управления обеспечивает рабо­ту отделов,

создаваемых при дирекции (юридический отдел, отдел кад­ров, ревизионный и

организационный отделы), и хозяйственно-управ­ленческих отделов (отдел

информационных технологий и др.), которые входят в обычный состав

управленческой структуры любого предпри­ятия и в данной работе не

рассматриваются.

В случае, если банк начинает выполнять новые операции (факторинго­вые,

лизинговые, трастовые и др.), приведенная структура управления может быть

соответствующим образом скорректирована.

Состав операций, осуществляемых банком на рынке услуг, достаточно сильно

влияет на структуру управления банком.

Важнейшей функцией деятельности банка является привлечение средств из внешней

среды и размещение их с максимальной доходностью и допустимым риском. При

размещении временно свободных средств банк должен выполнять ряд требований,

которые обеспечивали бы соблюдение необходимых нормативов, определенных НБУ и

гарантирующих его , ликвидность.

Одна из особенностей украинских коммерческих банков заключается в том, что их

деятельность, несмотря на формальную специализацию, но­сит в большинстве

случаев универсальный характер. Это определяет в целом схожесть палитры

услуг, а также определяет выбор структуры управ­ления банком. Итак, банк -

коммерческое учреждение, являющееся юри­дическим лицом, которому в

соответствии с Законом о банках и на осно­вании лицензии (разрешения),

выдаваемой Центральным банком РФ, предоставлено право привлекать денежные

средства от юридических и фи­зических лиц и от своего имени размещать их на

условиях возвратности, платности и срочности, а также осуществлять иные

банковские операции. Таким образом, функции банка заключаются в аккумуляции

временно сво­бодных средств и размещении их оптимальным образом, а также в

со­действии платежному обороту и трансформации рисков. Аккумуляция временно

свободных средств предполагает привлечение вкладов всех ви­дов (депозитов -

срочных и до востребования, сберегательных вкладов) и выпуск ценных бумаг

(акций, облигаций и др.). Размещение средств в кредиты зависит от периода и

способов кредитования (по договору, через покупку долговых обязательств,

через принятие ответственности перед третьим лицом - гарантийный либо

акцептный кредит). Последний спо­соб фактически реализует трансформацию

риска. Содействие платежам -выполнение платежных операций клиента, оплата

переводов, чеков, век­селей и других документов. Кроме того, банк выполняет

операции по по­купке и продаже валюты и фондовых ценностей, размещению акций

и облигаций, хранению ценных бумаг.

Для удобства дальнейшего изложения материала воспользуемся следую­щей

классификацией банковских операций. Активные операции, помимо кас­совых,

включают: 1) кредиты клиентам; 2) кредиты другим банкам; 3) депо­зиты в

других банках. Пассивные операции содержат: 4) депозиты клиентов; 5) депозиты

банков; 6) кредиты банков (в том числе Центрального). При этом операции 1,2 и

6 относятся к ссудным, а операции 3, 4, 5 - к депозитным. Размещение средств

на резервном счете в ЦБ РФ и размещение средств на корреспондентских счетах в

других банках являются также депозитными операциями. В то же время операции

1,2 и 6 могут быть классифицированы на краткосрочные, среднесрочные,

долгосрочные и онкольные.

В соответствии со законом «О банках и банковской деятельности» за банками

закреплено право производить следующие опе­рации и сделки:

1) привлечение денежных средств физических и юридических лиц во вклады (до

востребования и на определенный срок);

2) размещение указанных в п. 1 части первой настоящей статьи .при­влеченных

средств от своего имени и за свой счет;

3) открытие и ведение банковских счетов физических и юридиче­ских лиц;

4) осуществление расчетов по поручению физических и юридических лиц, в том

числе банков-корреспондентов по их банковским счетам;

5) инкассация денежных средств, векселей, платежных и расчетных документов и

кассовое обслуживание физических и юридических лиц;

6) купля-продажа иностранной валюты в наличной и безналичной формах;

7) привлечение во вклады и размещение драгоценных металлов;

8) выдача банковских гарантий.

Кредитная организация помимо перечисленных в части первой настоя­щей статьи

банковских операций вправе осуществлять следующие сделки:

1) выдачу поручительств за третьих лиц, предусматривающих испол­нение

обязательств в денежной форме;

2) приобретение права пользования от третьих лиц исполнения обяза­тельств в

денежной форме;

3) доверительное управление денежными средствами и иным имуще­ством по

договору с физическими и юридическими лицами;

4) осуществление операций с драгоценными металлами и драгоценны­ми камнями в

соответствии с законодательством Украины;

5) предоставление в аренду физическим и юридическим лицам специ­альных

помещений или находящихся в них сейфов для хранения докумен­тов и ценностей;

6) лизинговые операции;

7) оказание консультационных услуг.

Кредитная организация вправе совершать иные сделки в соответствии с

законодательством Украины.

Все банковские операции и другие сделки производятся в рублях, а при наличии

соответствующей лицензии НБУ — в иностранной валюте. Правила осуществления

банковских операций, в том числе прави­ла их материально-технического

обеспечения, устанавливаются НБУ в соответствии с законами.

Кредитной организации запрещается заниматься производственной, торговой и

страховой деятельностью.

В целом банковские услуги носят массовый характер и могут быть весьма

разнообразны. Среди них: расчетно-кассовое обслуживание, от­крытие и ведение

счетов, трастовые операции, срочные депозитные вкла­ды, депозитные вклады с

графиком расходования, депозитные сертифи­каты, сберегательные сертификаты,

кредитование предприятий (с различ­ными видами кредитования),

рефинансирование, учет векселей, выпуск банковских векселей, открытие

корреспондентских счетов, инкассация, валютное обслуживание (расчетно-

кассовое обслуживание, проведение банковских расчетов по экспортно-импортным

операциям, купля-прода­жа свободно конвертируемой валюты, открытие счетов

типа ЛОРО-НОСТРО, хранение ценностей, консультационные услуги, страховые

опера­ции валютных и кредитных рисков, операции по резервированию ссуд,

операции с ценными бумагами).

К новым услугам можно отнести открытие филиалов или мини-от­делений,

выполняющих весь комплекс банковских операций прямо на территории

предприятия. Новыми видами услуг являются также выполнение заказов на покупку

производственных объектов в целом или по частям, разра­ботка инвестиционных

проектов с оплатой по конечному результату после инвестирования, их

финансирование на основе собственных руб­левых и привлеченных инвалютных

ресурсов; поиск зарубежного ин­вестора для организации совместного

производства или создание предприятия с иностранными инвестициями, аудит

соискателя инве­стиций для оценки финансовой состоятельности имеющегося

инвести­ционного проекта (бизнес-плана). Такие услуги оказывает акционер­ный

коммерческий банк "Церих".

Несмотря на достаточно стабильную номенклатуру банковских услуг, их

реализация в виде последовательности технологических этапов и прие­мов может

различаться.

Сравнивая работу различных банков и оценивая возможность автома­тизации их

деятельности, приходится констатировать практическое отсут­ствие унификации и

стандартизации банковских технологий. Технологии выполнения одноименных

банковских операций отличаются в различных банках, наблюдается несоответствие

целей и функций для одноименных автоматизированных участков, разнообразие в

технологии документиро­вания одноименных операций, различие форм отчетности,

периодично­сти их представления на разных участках управления в связи со

специа­лизацией работников. Это привело к появлению на рынке большого

ко­личества программных средств, обеспечивающих частичную автоматиза­цию

банковской деятельности. Но со временем пестрота разработок БИС пошла на

убыль, а наиболее эффективные системы стали интегри­роваться и широко

тиражироваться. Фирмы, имеющие разветвленную структуру и закупающие

интегрированные системы, распространяют их на все свои филиалы. «Эффект

массы» для некоторых систем привел к признанию их элементов стандартными.

Многообразие оказываемых банком услуг и связанных с ними бан­ковских

технологий, особенности организации управления и отсутствие единой концепции

автоматизации банковской деятельности обусловили появление на нашем рынке

большого количества разнообразных банков­ских программных продуктов различных

производителей.

Анализ этих продуктов украинского рынка показывает, что практиче­ское

выделение подсистем и задач в интегрированных БИС учитывает их группировку

одновременно по трем признакам: управленческая структу­ра, трансформация

ресурсов и функции управления. При этом часть задач реализуется различными

технологиями, распределяется между различны­ми АРМ и не повторяется, а

некоторые задачи становятся функционально избыточными и оформляются при

разработке в виде некоторых уни­версальных технологий, структурно выполненных

в форме перемещаемых блоков, одновременно присутствуя в нескольких АРМ и

соответствую­щим образом настраиваясь.

В большинстве БИС банковская технология оказывается жестко встро­енной в

программный продукт. Поэтому пользователь не имеет возмож­ности отклоняться

от нее, пользуясь меню, и всегда следует по пути за­программированного

диалога, корректность которого зависит практи­чески полностью от

разработчика. При этом различные продукты име­ют разную степень их

технологической адаптации и в большинстве случаев такая настройка

производится специалистом в процессе инстал­ляции. Обычно таким специалистом

является представитель разработ­чика, реже - банковский технолог

(администратор) автоматизируемого учреждения.

Мера функциональной избыточности определяется особенностями управленческой

структуры, принятой в банке. При этом ряд управленче­ских задач зачастую не

выделяется в самостоятельные, как, например, вся группа задач маркетинга. Это

можно объяснить неразвитостью бан­ковских систем управления и нежеланием

небольших, небогатых банков тратить деньги на дорогостоящие маркетинговые

исследования.

Нужно отметить и тот факт, что во многих БИС автоматизированы лишь самые

основные, наиболее важные с точки зрения разработчиков системы, задачи. Это

может быть мотивировано отсутствием некоторых услуг: факторинга, лизинга,

карточных услуг (или элементов оргструктуры, например), но есть

управленческие задачи, решаемые в любом банке и, как правило, отсутствующие в

большинстве отечественных БИС, например автоматизированный анализ качества

кредитного порт­феля, прогнозирование и планирование кредитных ресурсов. В

коммерческих банках структура управления и состав банковских операций

оказывают решающее воздей­ствие на структуру и содержание БИС.

Разработка и внедрение программного обеспечения требуют от банка немалых

затрат, поэтому банк заинтересован в быстрой окупаемости про­екта, которая

может быть достигнута за счет снижения либо цены на про­граммный продукт,

либо затрат на обработку или благодаря ускорению, оборота средств банка.

Использование компьютера позволяет расширить применение эконо­мико-

математических методов в управлении, т.е. не просто ускорить об­работку

информации методом прямого счета, а оптимизировать некото­рые процессы

(например, распределение и размещение мобилизованных средств). При этом время

на обработку снижается настолько, что это ска­зывается на повышении

оперативности проведения расчетов и, следова­тельно, на повышении

оперативности принимаемых решений. Появляет­ся возможность расширения спектра

оказываемых услуг, повышения их качества и расширения географии за счет более

полного использования средств телекоммуникаций.

Однако при всех преимуществах автоматизации перед банком по­мимо

необходимости больших затрат на закупку платформы (техниче­ские средства и

базовое программное обеспечение) и обучение своих специалистов возникает

постоянная дилемма. Она заключается в том, что желание банка обеспечить

максимальную длительность эксплуата­ции приобретенной платформы сталкивается

с тем, что любая плат­форма обречена на быстрое моральное старение,

обусловленное уста­реванием оборудования, базового программного обеспечения

(опера­ционная система, СУБД, языки программирования) и заложенной в продукт

банковской технологии. При разработке системы автоматиза­ции могут быть

реализованы два альтернативных решения.

Первое решение заключается в том, что проектировщики разраба­тывают систему

исходя из сложившейся структуры управления и, таким образом, «увековечивают»

ее преимущества и недостатки.

Второе решение предполагает предварительную реорганизацию системы управления

и усовершенствование ее в соответствии с современ­ной концепцией организации

управления и требованиями руководства уч­реждения.

Существующие за рубежом консалтинговые фирмы, работающие в этом направлении,

позволяют значительно повысить производительность тру­да только за счет

правильно выставленных целей и правильно организо­ванной структуры

управления. Но при этом вновь созданная структура управления должна постоянно

модифицироваться, приспосабливаясь к изменениям внешней среды. Так, в теории

менеджмента существует поня­тие клеточной системы. Организация управления

предполагает наличие на предприятии постоянно меняющейся структуры

управления. Элемен­том такой структуры является клетка, которая

самостоятельно определя­ет направления своего развития. Получая, обрабатывая

и передавая ин­формацию вовне, клетки меняются, адаптируются к изменениям

внешней среды и глобальным изменениям внутри системы. Подобием такой клет­ки

может служить предприятие, организованное крупной фирмой и зани­мающееся

венчурным бизнесом. Очевидно, что при этом система авто­матизации должна

постоянно меняться вместе с системой управления. Способностью адаптации БИС

особенно важна в условиях не сложившейся банковской системы, несовершенства

законодательной базы и нестабильной экономики.

Постоянные изменения, происходящие в сфере деятельности банков и

затрагивающие юридическую сферу, экономическую среду и банковские технологии,

требуют от системы управления банком высокой степени адап­тивности. БИС

должны иметь гибкую структуру и быть открытыми систе­мами, т.е. допускающими

внесение необходимых изменений в модель в случае каких-либо перестроек в

банковской сфере. Поэтому система должна быть ориентирована на автоматизацию

управления банковской деятель­ностью, а не на конкретную задачу чистой

автоматизации обработки бан­ковской информации. Другими словами, система

должна соблюдать прин­цип целевого характера управления и удовлетворять

требованию откры­тости для легкого внесения изменений и наращивания

функциональных ее возможностей по мере необходимости. Это требование

реализуется на принципах строгой параметризованности автоматизируемых

объектов и модульности. Главным девизом здесь должна служить ориентация

систе­мы на автоматизацию управления банковской деятельностью, а не на

решение локальных функциональных задач.

Гибкость, которая должна обеспечивать адаптацию программного про­дукта без

перепрограммирования, также основана на параметризации. Настройка может быть

однократной (на момент внедрения) и заключаться в конфигурировании системы по

количеству пользователей, особенностям и составу физических устройств,

технологическим особенностям реали­зации услуг, структуре аппарата

управления, а также при изменении бан­ковской технологии: при изменении плана

счетов и алгоритма формиро­вания баланса. Но может быть и текущей, такую

настройку выполняет бан­ковский технолог или администратор системы.

Процедуры расширения и настройки системы должны основываться на так

называемом «связывании» модулей, которое обеспечивает комплексность системы

за счет их интеграции. Например, оплата извещений по пога­шению коммунальных

платежей клиента одновременно обновляет пози­ции в текущих счетах, а также

другие позиции, затронутые операцией.

К специальным требованиям, характерным для банковской сферы, от­носится

прежде всего возможность отката на дату (контрольную точ­ку) либо

технологического отката через систему обратных проводок «красное сторно». При

достижении исходной ситуации и ее фиксации сотрудники банка должны иметь

возможность внесения изменений и воз­врата с автоматическим расчетом,

закрытием и архивацией всех после­дующих дней.

В связи с этим необходимо обеспечить одновременное сопровождение баз данных,

хранящих результаты текущего и прошедшего операцион­ных дней и осуществляющих

долговременное Хранение архивов.

Другим требованием, которое теперь предъявляют банки к систе­мам

автоматизации своей деятельности, является блокирование вво­да платежных

документов, приводящих к дебетовому сальдо, чтобы ис­ключить таким способом

пополнение картотеки № 2. Если же такая ситуация не возникает и платежный

документ не обладает некоррект­ными реквизитами, банковская технология

предполагает однократный ввод информации в систему и автоматическое

формирование прово­док по всем операциям. Это требование совпадает и с

требованием разработчиков.

Выполнение проводок и изменение лицевых счетов должны осущест­вляться в

реальном масштабе времени. Работа с единой информационной базой позволяет

автоматически распространять любые изменения всех взаимосвязанных частей базы

при внесении изменений в любую ее часть. Система должна обеспечивать

постоянное изменение состояния лицевых счетов и ежедневный пересчет остатков

на них с учетом дневных измене­ний. Этот пересчет должен давать возможность

накопления месячных, квартальных и годовых оборотов по счетам.

Лицевые счета должны проходить анализ на ситуацию неоткрытый счет. Вновь

открываемые счета получают автоматически присваиваемые номера. При

необходимости клиент (при наличии системы клиент-банк) или сотрудник банка

должен иметь возможность просмотра лицевого сче­та и оценки его динамики за

заданный период. По характеру счетов БИС должна обеспечивать работу в

мультивалютном режиме как с текущими и расчетными счетами, так и с различного

рода депозитными, ссудными, контокоррентными и другими счетами, а также

начислять различного рода проценты и комиссии.

Проведение расчетов должно быть своевременным и корректным, иметь точное

отражение в учетных регистрах и осуществляться таким образом, чтобы по

возможности максимально освобождать сотрудников от выполнения рутинных задач

вручную. При этом документооборот в банке желательно сократить.

Требования разработчика в основном связаны со сложившимся под­ходом к

проектированию автоматизированных систем, а также с собст­венными его

интересами, которые носят финансовый характер. Это пре­жде всего соотношение:

цена - себестоимость - объем работ.

К интегрированным системам при разработке предъявляются более ужесточенные

требования, чем к локальным разработкам. Это обусловле­но расширенными

функциональными запросами комплексности решений и обязательными системными

соглашениями.

Крайне важным является принцип комплексности разработки, который предполагает

создание совокупности взаимосвязанных программных средств, автоматизирующих

ряд банковских функций и организованных в виде целостной системы. При этом

для эффективной ее эксплуатации должны соблюдаться принципы согласованной

пропускной способности частей системы и гибкости информационного обеспечения

при сохране­нии его единства. Дело в том, что в настоящее время в банках

имеются разобщенные информационные фонды, что может приводить к

неодно­значным трактовкам экономической ситуации различными сотрудниками

банка. Очевидно, что соблюдение единства базы должно сопровождать­ся

однократностью ввода информации.

Операция, проведенная в отделении банка, при выполнении ряда усло­вий влечет

за собой и другие. Так, при выдаче аккредитива по истечении определенного

срока может оказаться, что деньги не израсходованы и подлежат обратному

перечислению на расчетный счет. Поскольку опера­ция формализована, она может

быть выполнена и программно. Внедре­ние этого принципа связано с преодолением

психологического барьера у сотрудников, которые привыкли к перечислению

средств только челове­ком, поэтому такие операции должны вестись сначала

параллельно. В дальнейшем перечень автоматизируемых операций будет

расширяться. В настоящее время можно указать некоторые операции по

автоматической оплате в пределах свободного остатка на счете, закрытию

аккредитивов, списанию начисленных процентов по краткосрочным ссудам (если

это оговорено в договоре), погашению некоторых видов краткосрочных ссуд.

Поскольку сложившийся в нашей стране рынок платформ очень пестр, разработчик

для наиболее широкого распространения своей системы за­интересован в

соблюдении принципа мобильности, т.е. в обеспечении возможности эксплуатации

программного продукта в различных опера­ционных и технических средах.

Использование в качестве опорной концепции разработки системы автоматизации

банковской деятельности концепции АРМ как нельзя бо­лее соответствует

применению целевого подхода в управлении. Опреде­лив основные цели

сотрудника, можно сформулировать главные сис­темные соглашения по

использованию дискетной или сетевой техноло­гии, выбрать необходимый

инструментарий. Наличие во многих АРМ одноименных участков позволяет широко

Страницы: 1, 2, 3, 4, 5


© 2007
Использовании материалов
запрещено.